
外媒根據來自Japanese Patent Office的申請資料,發現了Kawasaki的全新專利動力單元。
二行程、增壓再加上Hybrid!有搞頭?葫蘆裡賣的是什麼藥?
![]()
讓人訝異的規格還不只如此,這具採用了並列四汽缸結構的新引擎還用上十字曲軸以及缸內直噴。種種的科技結合在一起,如此具野心與前瞻的專利,代表著Kawasaki對於摩托車動力單元的重新思考與定義。
二行程還行嗎?排汙怎麼辦?
在二行程引擎因為環保逐漸式微的當代,仍有大批死忠愛好者期待著哪一天能來場文藝復興,雖然部分地區還有銷售較小型的二行程引擎車輛,歐洲專門搞賽車套件的製造商Suter,也曾限量發行99台賽道機器MMX 500,但大環境幾乎讓二行程內燃機銷聲匿跡確實已是不可逆的事實。
![]()
不過從專利圖來看,這怎麼樣也不像是二行程引擎,反到與我們常見的四行程引擎幾乎一樣,有汽缸頭、凸輪、汽門等機構,這樣的構造下,也許就不必燃燒機油了,如此一排汙的問題就能得到解決。雖然很難想像這樣的構造要如何在曲軸轉完1圈就完成動力循環,但能夠達到這個目標後,引擎的結構或許就不是那麼重要了。
不過目前所揭露的資訊有限,到底細節是如何辦到的,就得等Kawasaki釋出更多的消息才有辦法一探究竟了。順帶一提,因為這具並列四汽缸引擎為二行程,曲軸旋轉360度就會完成一次動力循環,因此採用十字曲軸的話,每90度都能產生動力,提供最平衡的運轉。
增壓與缸內直噴,是實現二行程的關鍵?
這會是全新的超級跑車引擎嗎?不,先等一下…
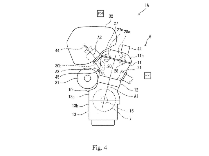
還記得最前面我們說到這是具Hybrid動力單元,並且是較少見的串聯混合動力嗎?簡單來說就是將這具高科技的內燃機作為發電用,真正輸出動力至後輪的仍是馬達。因此在專利圖上能看到曲軸的兩端各裝上了一台發電機,將機械能轉換為電能提供給儲存系統,系統再將電能供給到馬達。
因此這項全新專利雖然有讓人震驚的技術,但其實主要概念是串聯混合動力單元,如同汽車的增程電動車,採用這項技術較知名的車款為BMW i3 Rex以及Chevrolet Volt。恩…因此Kawasaki會將這樣的技術放在怎樣定位的車款上呢?
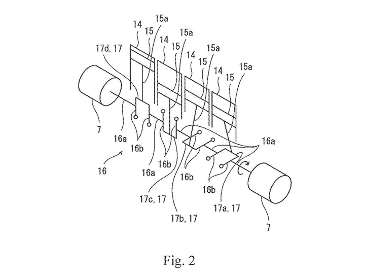
並列四汽缸採用十字曲軸,而曲軸兩端連接著的是發電機。
![]()
Kawasaki這項專利的意圖是什麼?
雖然一開頭就被大量的科技吸引、標題也很聳動,讓人不經想,繼機械增壓引擎、250四缸跑車後,Kawasaki又要在市場投下震撼彈了嗎?但回過頭來看,串聯混合動力單元的方式,在汽車科技上已經有一些例子可循。
以前車之鑑來說,這樣的方式不外乎是為電動車找到更棒的續航力,並且省去長時間充電的困擾,因為在沒電時車上還有一具內燃機(也可以說自帶燃油發電機),只要車子還有油就能跑,雖然尚且不知Kawasaki會怎樣運用這樣的科技,但或許這會是內燃機引擎面對零排放(電能)的趨勢下,延續壽命的最佳辦法。
這樣專利除了主要的目標是摩托車之外,Kawasaki還打算將其運用在水上摩托車、三輪車以及四輪越野車款(Buggies)上
原文出處:Kawasaki新引擎專利 竟是二行程Hybrid動力 !
資料授權「小老婆汽機車資訊網」
「Webike台灣」編輯部編輯




























